Manual and Guide DB

sand rail wiring diagram

Automotive 12V On/Off Rocker Switch laser etched design Reverse Lights. 17 Pictures about Automotive 12V On/Off Rocker Switch laser etched design Reverse Lights : Sand Rail Wiring Schematic - 88 Wiring Diagram, Sand rail project wiring - Fast Specialties - Performance Auto Body Shop, Auto Customizations in and also Running wires under the layout? | O Gauge Railroading On Line Forum.

Automotive 12V On/Off Rocker Switch Laser Etched Design Reverse Lights

Automotive 12V On/Off Rocker Switch laser etched design Reverse Lights utvdude.com

rocker switch light 12v dome sexy lights waterproof shocker led reverse laser switches diagram onoff utvdude wire parts automotive etched

Universal Turn Signal Switch Wiring Diagram Fitfathers Me In At New | Diagram, Electrical

Universal Turn Signal Switch Wiring Diagram Fitfathers Me In At New | Diagram, Electrical www.pinterest.com

circuit

Running Wires Under The Layout? | O Gauge Railroading On Line Forum

Running wires under the layout? | O Gauge Railroading On Line Forum ogrforum.ogaugerr.com

1781

Model Railroad Wiring For Automated Train Operation

Model Railroad Wiring for Automated Train Operation www.building-your-model-railroad.com

track wiring railroad train diagram trolley circuit ar automated each operation stop end want building

Pin On Spaces

Pin on Spaces www.pinterest.com

vw wiring regulator voltage beetle generator diagram 1973 ford alternator 12v volkswagen tractor circuit 8n schematic electrical battery automotive ghia

Model Railway Wiring

model railway wiring www.009.cd2.com

wiring railway bus bar

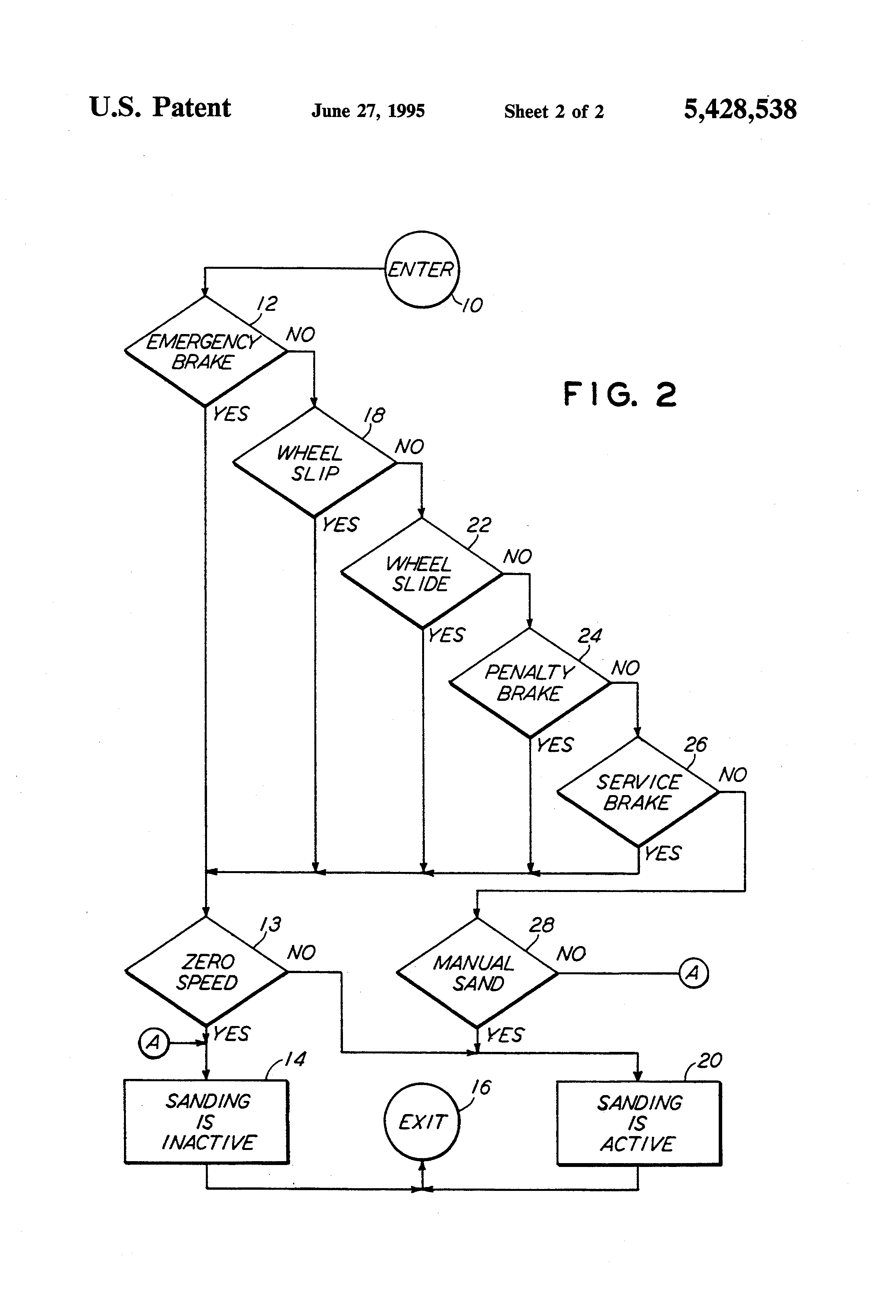
Patent US5428538 - Sanding Control System For Railway Vehicles - Google Patents

Patent US5428538 - Sanding control system for railway vehicles - Google Patents www.google.com.au

patents

Jeep Cj Ignition Wiring Diagram In 2020 | Jeep Cj7, Cj7, Jeep Cj

Jeep Cj Ignition Wiring Diagram in 2020 | Jeep cj7, Cj7, Jeep cj www.pinterest.com

cj7 yj digramas jeeps wire criss

2005 Bmw E46 Radio Wiring Diagram In 2020 | Motorcycle Wiring, Electrical Wiring Diagram, Bmw

2005 Bmw E46 Radio Wiring Diagram in 2020 | Motorcycle wiring, Electrical wiring diagram, Bmw www.pinterest.com

e46

Mahindra Tractor Alternator Wiring Diagram - Tati-accesoriosamano

Mahindra Tractor Alternator Wiring Diagram - tati-accesoriosamano tati-accesoriosamano.blogspot.com

mahindra

Sand Rail Wiring Schematic - 88 Wiring Diagram

Sand Rail Wiring Schematic - 88 Wiring Diagram wiringdiagram88.blogspot.com

schematic

How To Wire Trackside Signals Using An Atlas Snap Relay And LED Lamps To Show Turnout Positions

How to wire trackside signals using an Atlas snap relay and LED lamps to show turnout positions www.pinterest.com

track train scale railroad layouts wiring ho trains tortoise railway layout electric switch diagram gauge led control panel wire rr

Grade Crossing Flasher With Three Rail Detection

Grade Crossing Flasher with Three Rail Detection www.dallee.com

crossing grade flasher detection dallee circuit rail controller wiring wire

Image Result For 68 Chevelle Starter Wiring Diagram | Chevelle, Diagram, 68 Chevelle

Image result for 68 Chevelle starter wiring diagram | Chevelle, Diagram, 68 chevelle www.pinterest.com

wiring starter diagram chevelle ignition switch ls swap wire 68 1965 wires 1967 distributor safety ss result think google

Sand Rail Project Wiring - Fast Specialties - Performance Auto Body Shop, Auto Customizations In

Sand rail project wiring - Fast Specialties - Performance Auto Body Shop, Auto Customizations in www.fastspecialties.com

sand rail wiring project 1463 fastspecialties

VW Tech Article 1967-71 Wiring Diagram

VW Tech Article 1967-71 Wiring Diagram www.jbugs.com

wiring vw 1967 diagram tech jbugs bug

Organized Wiring Tips? - Model Railroader Magazine - Model Railroading, Model Trains, Reviews

Organized wiring tips? - Model Railroader Magazine - Model Railroading, Model Trains, Reviews cs.trains.com

wiring organized tips

2005 bmw e46 radio wiring diagram in 2020. Model railway wiring. Sand rail wiring project 1463 fastspecialties